27日,全国中小企业股份转让系统(以下简称“全国股转系统”)挂牌审查部就山东树茂盛塑业股份有限公司(以下简称“树茂盛”)挂牌申请发布首次反馈意见公告,就公司特殊问题、中介机构执业质量问题、申请文件的相关问题等发布反馈意见,其中就公司的持续经营能力、收入、应收款账等问题的真实性、完整性提出了15点质疑。

据了解,树茂盛及其股票是由国融证券股份有限公司(以下简称“主办券商”)在全国股转系统推荐挂牌的。经全国股转系统审查,对15项公司特殊问题进行了反馈。
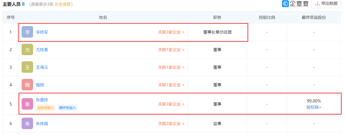
其中,反馈意见对树茂盛投资人、实控人与法定代表人之间的关联关系提出疑问,张盛林与李林军是否存在关联关系、委托持股或其他利益安排,以及对公司实际控制人认定的合理性与依据提出质疑。
反馈意见显示,张盛林68岁,任树茂盛董事兼销售经理,而公司董事长兼总经理则为不持有公司股份的23岁李林军,树茂盛发布的公开转让说明书中并未披露张盛林的身体状况及其实际履职状况。企查查资料显示,树茂盛的股东为宁波恒磊企业管理有限公司(以下简称“恒磊管理”)、蒋金花,分别持股99%、1%;而张盛林持有恒磊管理100%股权,为树茂盛实际控制人;同时树茂盛100%控股宁波朗发新材料有限公司(以下简称“朗发新材”);李林军担任恒磊管理零持股的执行董事兼总经理、朗发新材零持股的执行董事兼经理,张盛林则任恒磊管理监事,朗发新材不任职。

记者发现,除了树茂盛,李林军还担任恒磊管理、朗发新材的法定代表人,这三家公司的实控人都是张盛林。其中树茂盛与恒磊管理的原始投资人都在2019年1月退出投资人(股权)备案,新增投资人分别为恒磊管理与张盛林;同年4月,树茂盛设下属子公司朗发新材;19年下半年,李林军变更为树茂盛、恒磊管理、朗发新材三家的法定代表人,在此之前,树茂盛与朗发新材的法定代表人为树茂盛另一股东蒋金花。至此,张盛林与李林军通过三家公司形成了一种错综复杂的关系,实控人不是董事长,董事长却没有股权,两人之间是否存在关联关系、委托持股或其他利益安排,希望树茂盛接下来的回复能够做出解答。
此外,反馈意见对树茂盛前控股人杨小巧股权转让的真实性,及其与恒磊管理、张盛林、蒋金花之间的关联关系也提出质疑,希望主办券商及律师就公司股权的披露情况发表明确意见。
记者从现有资料发现,2016年2月树茂盛成立之初,杨小巧为唯一投资人。2019年1月,杨小巧将全部股权转让给恒磊管理和蒋金花,退出公司投资人(股权)备案;公司实际控制人由杨小巧变更为张盛林;法定代表人由杨小巧变更为蒋金花,同年9月变更为李林军。2016年树茂盛设立后注册资本未实缴,2018年12月杨小巧实缴出资320万元,反馈意见树茂盛2016-2018年长期未实缴注册资本的原因及杨小巧实缴出资的资金来源、转让全部股权的真实性提出质疑。

挂牌审查部表示,请树茂盛、主办券商、律师、会计师对照《全国中小企业股份转让系统股票挂牌条件适用基本标准指引》及《公开转让说明书内容与格式指引》补充说明是否存在涉及挂牌条件、信息披露以及影响投资者判断决策的其 他重要事项,并在提交电子版材料之前请审慎、严肃地检查报送材料,避免全套材料的错误、疏漏、不实。