鲁网9月20日讯 9月19日下午,由聊城市企联、企业家协会主办,裕昌控股集团承办的“2019聊城企业家年会暨百强企业高峰论坛”在聊城市东昌宾馆小礼堂召开。工信部智能制造专家委员会副主任屈贤明出席并作报告,聊城市政府副市长洪玉振出席并讲话,论坛发布了《2019聊城100强企业发展研究报告》。
洪玉振在论坛上表示,聊城市百强企业中的大部分企业保持了稳中趋进态势,为全市的经济发展做出了突出的贡献,下一步,要大力弘扬创业创新创造、勇于拼搏的优秀企业家精神,团结带领广大企业员工奋力开拓国际国内市场,要坚持改革创新,培育发展新动能,坚持“生产一代、研发一代、储备一代”的指导思想,高度重视新经济新模式新业态,从数字经济中汲取发展新动能,以新一代人工智能技术赋能企业转型创新,要加强企业家队伍建设,激发企业家干事创业激情。
据悉,聊城企业100强发展研究是提供聊城市重点企业资讯的权威平台,是服务于政、产、学、研合作的研究平台,是推动企业间相互学习合作的平台。 (本网记者)
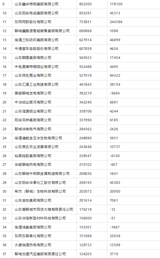
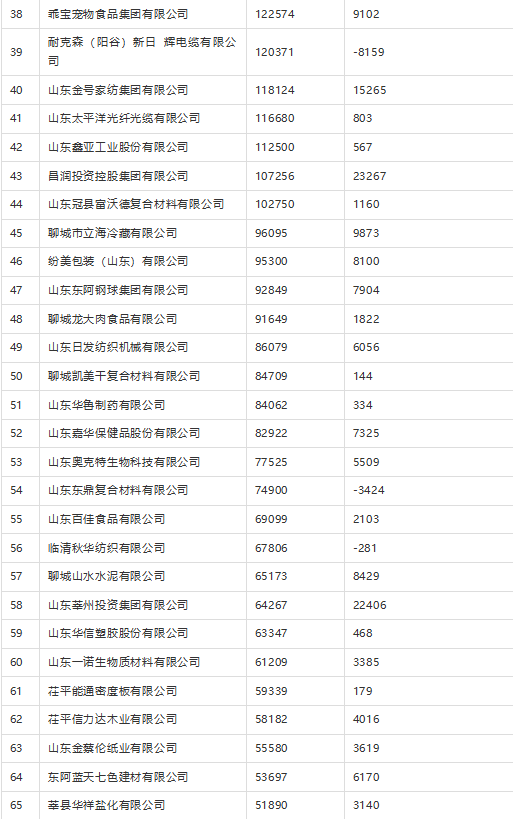
附2019聊城企业100强数据:




