记者从青岛监管局了解到,青岛易来智能科技股份有限公司(下文简称“易来智能”)已于2020年8月3日在青岛证监局进行辅导备案登记,辅导机构为中泰证券。
与多家科技企业巨头合作
2020年销售额有望达15亿元
企查查资料显示,易来智能成立于2012年,注册地址为青岛市崂山区,法定代表人为姜兆宁。成立以来,公司主要从事智能照明相关产品的设计、研发、系统集成和销售,拥有完整的智能照明产品线,包括家居照明、台上照明、氛围照明以及智能控制系统,具备从光学、硬件设计、嵌入式系统、通信系统、智能手机APP、云平台等的全方位研发能力。
据了解,易来智能旗下的扛把子智能照明品牌“Yeelight”于2014年便已加入小米生态链,目前米家上的小米有品在卖的照明产品超过6成是Yeelight品牌。2019年,Yeelight的营收超过了10亿元。
记者从易来智能的官网获悉,如今与易来智能合作的伙伴除了小米外还有谷歌、苹果、亚马逊、三星、日本软银、百度小度、天猫精灵等科技企业巨头。

近年来,随着人工智能、5G时代的到来,智能家居和物联网已经成为行业发展的大趋势。据前瞻网和民生证券研究院的数据显示,2013-2017年,全球智能照明市场规模逐年增加,2018年全球智能照明市场规模约为148.78亿美元,预测到2020年可达243.41亿美元。
据凤凰网青岛报道,日前,易来智能创始人兼CEO姜兆宁在接受媒体采访时表示,预计2020年品牌销售额为15亿元,全国线下门店预计将开设超过300家。
拥抱资本 积极筹划上市
在聚力发展产品的同时,易来智能也在积极拥抱资本。
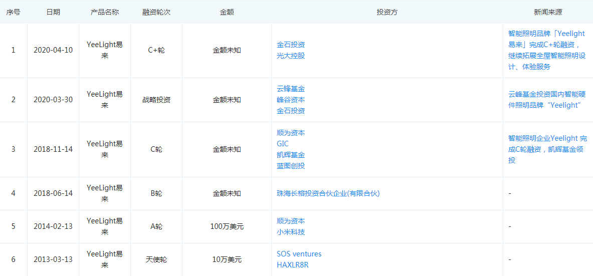
今年4月,易来智能完成了由中信金石和光大控股联合投资的C+轮融资,并发布中文品牌名「易来」。据悉,该轮资金将主要用于新照明材料、新型产品的研发,渠道和服务网络建设,以及照明设计学院和培训方面的投入。

2018年11月,易来智能完成C轮融资,由凯辉基金领投,蓝图资本、顺为基金、GIC基金跟投。同年6月,易来智能刚完成来自珠海长榕投资合伙企业(有限合伙) 的B轮融资,。
值得注意的是,早早入局易来智能的小米科技于2014年便完成了对其的A轮融资,目前小米科技也是易来智能的第三大股东,通过其全资子公司天津金星创业投资有限公司间接控股11.66%。
在对于资本的入局的态度上,易来智能持积极状态。此前,易来智能表示,为募集资金、满足业务快速发展的需求,公司已将登陆资本市场作为近几年的重要目标。姜兆宁早些时间也透露过公司正在筹备A股科创板上市。记者 黄钰淇