近日,鲁网•泰山财经记者从证监会获悉,山东博润实业有限公司(以下简称“博润实业”)和山东玉皇化工有限公司(以下简称“玉皇化工”)因“未按规定披露2019年年度报告”,被山东监管局出具警示函并计入证券期货诚信档案,同时两家企业的法人王金淼和王金书也被点名。

(以上图片来源于中国证监会官网)

(以上图片来源于中国证监会官网)
公告显示,两家企业“未按规定披露2019年年度报告”的行为,违反了《公司债券发行与交易管理办法》第四条和第四十三条的规定。根据该办法第五十八条的规定,山东监管局出具了相应惩罚。值得注意的是,山东证监局提到,如两家企业对该决定不服,可于收到决定书之日起60日内向证监局提出行政复议,也可以在收到决定书之日起6个月内,向有管辖权的人民法院提起诉讼。复议与诉讼期间,本监督管理措施不停止执行。

(以上图片来源于企查查截图)
据企查查显示,这两家企业今年诉讼不断,其中博润实业今年已3次被列为被执行人,当前被执行金额达1.22亿元。其法定代表人王金淼今年8月刚刚被潍坊市奎文区人民法院采取“限制消费”措施。

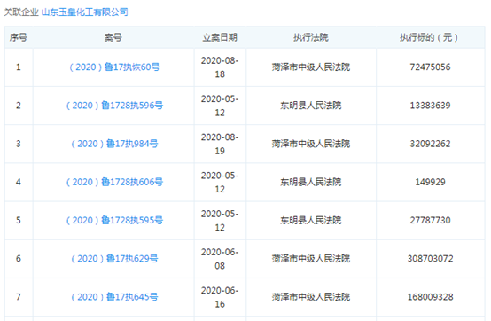
(以上图片来源于企查查截图)
另据企查查显示,成立于1994年的玉皇化工,今年因“未按时履行法律义务”被列为被执行人次数达高达17次,而且因“自身失信”,该企业法人王金书3度被法院采取“限制消费”措施。记者 陈心如 实习记者 吴奕萱