昨日,青岛大学附属医院在山东产权交易中心发布公告称,将转让旗下控股公司青岛善大天源中药饮片有限公司(以下简称“善大天源”)52.93%国有股权,转让时间为9月17 日至 10月20日,目前处于信息预披露阶段。

(图片来源于山东产权交易中心官网)
公告显示,成立于2003年2月的善大天源,注册资本为200万元,其法定代表人为郭兴奎,经营范围包括中药饮片(炮制范围:净制、切制、炒制、煅制、炙制、蒸制)、毒性饮片(炮制范围:净制、切制、煮制)以及农副产品销售等服务。截至目前,其实际控制人青岛大学附属医院持有52.93%股份,另有47.07%股份由青岛善达医学实业公司、持股人王文超分别持有。

(图片来源于山东产权交易中心官网)
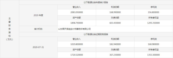
据标的企业近期财务表分析,截至今年7月底,该企业营业收入为1019.80万元,净利润共盈利168.98万元,资产总额1720.52万元,负债总额367.23万元。与2019年相比,标的企业除净利润及所有者权益略有上升外,其他数据均有下降,营业收入更是减少了1063.26万元。

(图片来源于企查查官网)
据企查查数据显示,标的企业股东王文超曾于2018年两度被平度市人民法院和山东省青岛市即墨区人民法院冻结了股份,被列为被执行人。其中“(2018)鲁0283民初3275-1”文书显示,被冻结日期将于2021年4月22日截止。

(图片来源于山东产权交易中心官网)
据鲁网·泰山财经记者梳理发现,本次转让是经青岛大学附属医院主管部门山东省卫生健康委员会(以下简称“省卫健委”)同意,批复显示,本次转让将用于标的企业进行市场化处置。值得注意的是,省卫健委主管的山东省中医院也曾发布过类似转让信息,系将旗下济南三兴药业有限公司90%国有股权进行市场化处置,值得注意的是,目前该项目仍处于挂牌期。记者徐英淦 实习记者吴奕萱