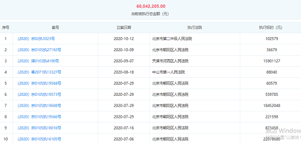
今日,鲁网·泰山财经记者从中国执行信息公开网获悉,锤子科技关联公司北京锤子数码科技有限公司于10月12日被北京市第二中级人民法院列为被执行人,案号为(2020)京02执1023号,执行标的102579。

据企查查显示,自2020年4月以来,北京锤子数码科技有限公司已多次被列为被执行人,其中,7月29日,执行标的总计超1929万元。当前被执行总金额高达6004万元。


资料显示,北京锤子数码科技有限公司成立于2014年6月,注册资本2000万人民币,法定代表人为温洪喜,由锤子科技(北京)股份有限公司全资控股。(本网记者)