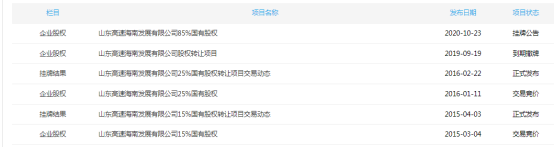
近日,山东高速物资集团有限公司(简称“高速物资集团”) 在山东产权交易中心发布公告称,拟以9.18亿底价,转让旗下山东高速海南发展有限公司(简称“高速海南发展公司”)85%国有股权。据公开信息,早在2015年,高速物流集团就曾挂牌转让高速海南发展公司15%股权,随后又接连3次披露转让信息,如今已是第4次转让了。

(山东产权交易中心网站截图)
6年4次挂牌转让
公开资料显示,高速海南发展公司成立于2012年2月,由山东高速旗下全资子公司高速物资集团出资10亿元,在国家级经济开发区-海南省洋浦经济开发区注册成立的一家区域性发展公司。主营生物燃料、液化气燃料、馏分燃料、残渣燃料、燃料调和组分、芳烃和溶剂(包括脂肪族溶剂)等范围。
据其股权分析图得知,目前,山东高速通过其全资子公司高速物资集团控股标的企业85%股权,另中建安装集团有限公司控股15%。而高速物资集团本次转让股权,将导致标的企业实际控制权发生转移。

(山东产权交易中心网站截图)
据其财务数据得知,截至今年9月底,标的企业营收8430.63万元,净利润亏损1633.33万元,资产总额11.87亿元,负债总额3.43亿元,截至今年2月底时,标的企业营收为0。另据沃克森(北京)国际资产评估有限公司评估,标的企业净资产10.66亿元,转让评估值为9.06亿元,而资产和负债总计因“业务无法提供”,无从得知。
鲁网·泰山财经记者梳理发现,高速物资集团在山东产权交易中心转让标的企业的公告,最早见于2015年3月,当时以1.75亿元底价将15%国有股权转让给了中建安装集团有限公司。随后在2016年1月,高速物资集团又拟以3.10亿元底价转让标的企业25%股权,最终本次转让虽有意向受让方进行登记,却并未转让成功。到了2019年9月时,高速物资集团发布拟转让标的企业55%股权的信息,并未透露底价,后因时间到期而撤牌。细数下来,这已是6年来第4次公布转让。

连续三年入选海南企业百强
据公司官网显示,高速海南发展公司自成立来便屡获佳绩,2017年、2018年、2019年连续三年进入海南省企业100,其中2019年位列第39名,公司旗下项目连年被列为海南省重点项目。
鲁网·泰山财经记者在洋浦经济开发区官网看到,在海南建设自贸港的发展大背景下,高速海南发展公司更是积极抢抓机遇,2012年时,投资28.48亿元建设山东高速石化新材料产业基地项目,致力打造全国最大石化新材料生产基地。据了解,公司按照山东高速集团“一本四大”发展战略和物资集团“实业转型”的要求,正全力推进海南省重点项目--“山东高速石化新材料产业基地”的建设。
据了解,该项目是山东高速集团主产业链上的大制造产业项目,坐落在洋浦石化功能区内,年产200万吨道路建设新材料、30万吨润滑油等产品,年均产值计划在200亿元,可形成至少800万吨/年的物流总量。项目一期占地500亩,投资约34亿元。值得注意的是,该项目建成后一期就有约300人的就业空间。
另据山东省属企业2020年首批拟进行产权转让重组合作项目显示,山东高速集团共推出优质混合所有制改革项目8个项目,其中标的企业就在该名单之中。(记者 陈心如 见习记者 吴奕萱)