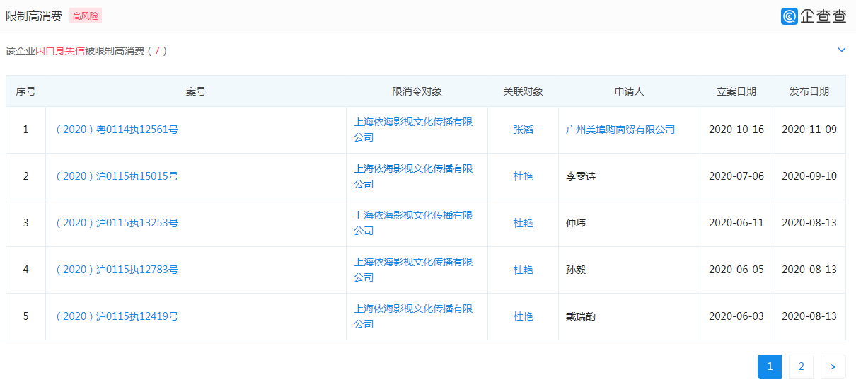
企查查APP显示,上海依海影视文化传播有限公司(以下简称“依海影视”)于11月9日新增限制消费令,执行法院为广州市花都区人民法院,目前已是第7次被限制高消费。同样,依海影视也是7次被广州市花都区人民法院、上海市浦东新区人民法院列入失信被执行人名单。鲁网泰山财经发现最新的执行案件关联的便是此次新增的限制消费令,执行标的达7次之最,为500万元。


(图片来源:企查查)
企查查风险信息显示,该公司目前法律风险共68条。值得注意的是,依海影视是艺人蔡徐坤的前经纪公司,2019年该公司6次以不正当竞争纠纷将蔡徐坤工作室、蔡徐坤告上法庭。据报道,2019年2月19日,蔡徐坤与依海影视委托合同纠纷案宣布终审结果,判决蔡徐坤与依海合约解除,并驳回了依海公司的全部诉讼请求,判决已生效。
资料显示,上海依海影视文化传播有限公司成立于2014年11月,法定代表人为张滔,注册资本300万人民币,由西藏依海影视文化传播有限公司全资持股。(本网记者)

