12日,经过9次竞价和2次延时竞拍,济南市花园路历城国用2008第0500127号土地及在建工程以8680万元在阿里拍卖平台拍卖成交,而该标的评估价为1.08亿元,两者相差2162万元。整场拍卖仅有2人参与报名,21人设置提醒,2401次围观。据公告显示,此次拍卖标的在建工程房地产项目名称为“和美商务大厦”,处置单位是济南三川生态旅游开发有限公司。

(图片来源:阿里拍卖平台截图)
济南三川生态旅游开发有限公司成立于2005年10月8日,法定代表人为陆洪涛,注册资本为1000万元人民币,所属行业为房地产业,经营范围包含:生态旅游设施开发;房地产开发(凭资质证经营)及销售。公司由于彬、浙江林垟房地产开发有限公司、陆洪涛三方持股,持股比例分别为73.00%、22.00%、5.00% 。
据企查查显示,济南三川生态旅游开发有限公司有失信被执行人、 严重违法、经营异常、非正常户的信息记录及自身风险达152条。

(图片来源:企查查)
鲁网·泰山财经记者从中国执行信息公开网获悉,济南三川生态旅游开发有限公司名下存有7条执行信息,其中有5次被法院列入失信被执行人名单,即成为老赖,原因是有履行能力而拒不履行生效法律文书确定义务或违反财产报告制度。

(图片来源:中国执行信息公开网)
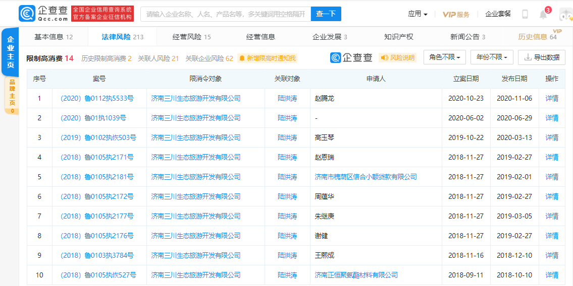
相应地,因自身失信被多次限制高消费。据企查查显示,2017年11月2日,公司第一次被限制高消费,三年时间内公司被限制高消费达14条。鲁网·泰山财经记者发现,济南三川生态旅游开发有限公司最近一次被限制高消费为今年的11月6号,因在一起民间借贷纠纷案中未按执行通知书指定的期间履行生效法律文书确定的给付义务,被济南市历城区人民法院采取限制消费措施。据显示,公司作为被告、被执行人等相关司法案件高达84条。

(图片来源:企查查)
此外,鲁网·泰山财经记者还发现,济南三川生态旅游开发有限公司曾多次被列入严重违法。据国家企业信用信息公示系统,2017年7月14日,济南三川生态旅游开发有限公司被济南市历城区市场监督管理局列入经营异常名录,原因是公司未按照规定的期限公示年度报告,违反了《企业信息公示暂行条例》和《经营异常名录管理暂行办法》的相关规定。因被列入经营异常名录届满3年仍未履行相关义务,济南三川生态旅游开发有限公司又被山东省市场监督管理局列入严重违法失信企业名单,并通过企业信用信息公示系统向社会公示。经过查询,共显示3条关于济南三川生态旅游开发有限公司企业列入严重违法失信企业名单公告,最新一次公告时间是今年的7月21日。(本网记者)

(图片来源:国家企业信用信息公示系统)

