企查查显示,湖北试试老赖有限公司(以下简称“试试老赖公司”)于近日新增风险信息,公司法定代表人于建虎被限制高消费,其失信行为包含违反财产报告制度、有履行能力而拒不履行生效法律文书确定义务等。

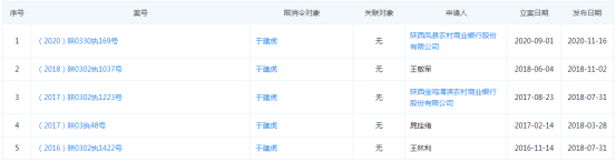
鲁网·泰山财经记者发现这是于建虎第五次被限制高消费,于建虎第一次被限制高消费是在2016年11月,于建虎于2017年增加两条限费令,2018年增加一条限消令。
此外,鲁网·泰山财经记者在企查查发现,于建虎有三次因失信被法院列为被执行人,时间分别为2016年11月、2017年8月以及2020年9月,其中前两次失信行为是有履行能力而拒不履行生效法律文书确定义务,第三次为违反财产报告制度。

企查查显示,目前,除试试老赖公司外于建虎名下还有2家企业,分别为宝鸡市嘉城矿业有限公司、西安丽碧装饰工程公司,不过这两家公司已注销。
试试老赖公司成立于2016年11月,是所属行业为木材加工和木、竹、藤、棕、草制品业。于建虎占股90%,目前是其名下唯一一家存续公司。(本网记者)