2月23日,“碰瓷”茅台失败的信阳毛尖集团有限公司(信阳毛尖.00362.HK)发公告称,其近期收购的北京耀莱龙微酒业有限公司(以下简称“耀莱龙微酒业”)曾与茅台合作推出过“成龙茅台酒”产品。

(图片来源:企查查)
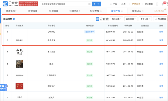
鲁网·泰山财经记者在企查查发现2月9日,耀莱龙微酒业了申请“JACKIE”商标(成龙的英文名Jackie Chan),国际分类涉第33类酒类,不过目前商标状态为“注册申请中”。企查查知产信息显示,耀莱龙微酒业已注册“橡金成龙”“成龙祥凤”“好演员”“成龙”商标,国际分类均为酒类。

(图片来源:企查查)
公共信息显示,2021年2月3日,信阳毛尖间接全资附属公司牡丹江龙晋酒业有限公司斥资8000万港元收购了耀莱龙微酒业100%股权。
本次公告中信阳毛尖表示,耀莱龙微酒业所持有的“成龙”商标于2012年开始使用,当时商标注册者为北京耀莱金榜酒业有限公司(以下简称“耀莱金榜酒业”)。耀莱金榜酒业与贵州茅台酒股份有限公司联合出品了“成龙茅台酒”系列酒产品,该系列产品持续到2016年停止生产,之后耀莱金榜酒业一直以销售“成龙茅台酒”余下的存货为主。截至目前,该酒类产品已经全部售罄。耀莱金榜酒业也于2020年2月将包括“成龙”商标在内的全部已注册商标转让给耀莱龙微酒业。(鲁网·泰山财经记者 徐文轩)