8日,山东产权交易中心披露,东营市垦利区城市建设投资集团有限公司拟以6060.17万元底价,转让山东胜通房地产开发有限公司(简称“胜通地产”)100%股权,挂牌期截至8月4日。企查查显示,胜通地产在东营共购得30块土地,公示地块27个。目前,其存货-开发产品处于可售状态。

(图片来源:山东产权交易中心)
公开资料显示,胜通地产成立于2005年9月,注册资本8100万元,主营房地产开发,职工人数共18人。
经东营铭润联合会计师事务所审计,截至去年12月底,胜通地产营收781.41万元,净利润亏损413.1万元,资产总额5.02亿元,负债总额4.56亿元,所有者权益4660.23万元。另据其近期财务报表披露,截至今年5月底,胜通地产营收增至1.07亿元,净利润扭亏为盈,呈829.22万元。
东营市垦利区城市建设投资集团有限公司表示,截至今年6月底,胜通地产欠其2300万元欠款,意向受让方须承诺,受让股权后代胜通地产清偿该笔债务。据悉,该笔债权款可分期支付,首付款不低于全部债权款的30%。
此外,东营市垦利区城市建设投资集团有限公司提出,为确保受让方能够履行代偿责任,在股权变更至受让方名下而受让方尚未全额代偿债务的情况下,胜通地产财务账户、印章、印鉴及营业执照由转、受让方进行共管。
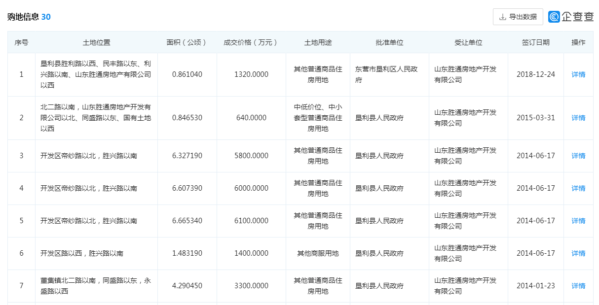
鲁网·泰山财经记者在企查查注意到,2011年至2018年期间,胜通地产购地信息共30条,另在2011年至2017年期间,共有地块公示信息27条,位置多位于垦利县。

(图片来源:企查查)
公告还指出,胜通地产的存货-开发产品均未办理不动产权证,规划手续、预售手续齐全,均处于可售状态。截至去年12月底,胜通地产土地增值税根据税务部门的规定采取按预收房款的一定比例预交的办法,尚未进行清算。因此评估系按东营市土地增值税目前的征管情况按3%计算。
鲁网·泰山财经记者 吴奕萱