在经历了26轮流拍后,近日烟台捷林达通用齿轮箱制造有限公司(简称“烟台捷林达”)管理人重新将烟台捷林达持有的烟台天宏铸造有限公司(简称“天宏铸造”)40%股权进行拍卖,起拍价1.45万,较一拍降价478.55万。鲁网·泰山财经记者注意到,此次拍卖评估价480万元,保证金3000元,拍卖将于10月17日开拍。

(图源:阿里拍卖)
天宏铸造40%股权降价478.55万“甩卖”
公告显示,此次被拍卖股权的天宏铸造成立于2011年4月,注册资金1200万元,主营齿轮箱生产、销售;铸造件加工、销售。目前,烟台捷林达持股40%,另有60%股权由烟台天宏齿轮箱制造有限公司持有。企业登记状态为在业。

(图源:国家企业信用信息公示系统)
据公告显示,此次烟台捷林达转让所持天宏铸造40%股权,是因破产所致,拍卖起拍价为1.45万元,参拍保证金3000元,增价幅度500元,拍卖将于10月17日开拍。阿里拍卖平台披露,去年12月,烟台捷林达首次转让所持天宏铸造40%股权,彼时吸引1306次围观,并有5人设置了提醒,因无人出价共历经26轮流拍。
鲁网·泰山财经记者注意到,在烟台捷林达破产受理前,烟台华达资产评估事务所曾受委托对其股权全部权益进行评估,华达事务所于2018年6月19日作出相关报告披露,列入此次评估范围的长期股权投资中,天宏铸造“未分配过股利,本次评估未取得被投资方截止日的会计报表及相关资料,本次评估未确认其投资收益”, 烟台捷林达对天宏铸造投资的账面价值为480万元,调整后账面价值为480万元,评估价值为480万元。管理人直言,上述评估仅为竞买人提供参考,管理人对此不作任何承诺及担保。
公告还特别提醒,有限责任公司股权价值与是否实缴出资、公司资产、经营情况等多因素相关,具有一定的不确定性并存在一定潜在风险,股权所涉的公司注册资本金及相关投资仅做参考,股权以现状为准,管理人不承诺和保证本次拍品的价值。
财务不明的“盲拍”
鲁网·泰山财经记者注意到,虽然公告特别提出管理人无法掌握天宏铸造会计报表及相关资料,无法通过评估形式确定该项投资市场价值,但截至目前,这场财务情况不明的“盲拍”仍吸引了92次围观,并有2人设置了提醒。
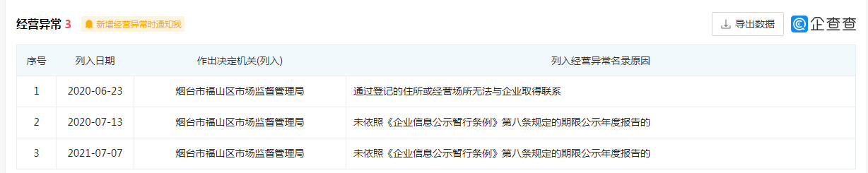
除资产情况外,天宏铸造自身情况令人堪忧。据企查查显示,从2020年6月起,因“被列入经营异常名录届满3年仍未履行相关义务”“未依照《企业信息公示暂行条例》第八条规定的期限公示年度报告”原因,3度被烟台市福山区市场监督管理局列入经营异常名单。

(图源:企查查)
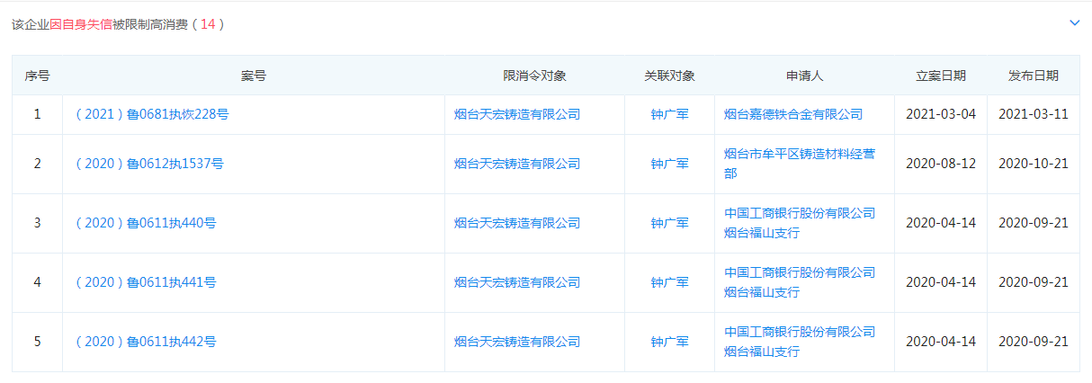
此外,该企业还因“有履行能力而拒不履行生效法律文书确定义务”在2020年2月、8月,被烟台市牟平区人民法院、龙口市人民法院列为失信被执行人,涉案金额总计27.36万元。2019年至2021年,该企业更14次被法院限制高消费。

(图源:企查查)
国家企业信用信息公示系统显示,虽然目前天宏铸造仍处于在营业状态,但营业期限截至2021年4月。针对此事,烟台捷林达管理人表示不清楚企业情况。
股东因资不抵债破产
“烟台捷林达因资不抵债被宣告破产。”据管理人介绍,2018年时,山东省烟台市福山区人民法院曾发布公告,烟台捷林达因主要订单来自国外,受市场经济影响,国外大客户流失、国内订单逐渐减少,导致收入逐年下降,但主营业务成本等各项费用却居高不下。最终因“不能清偿到期债务,且长期处于亏损状态经营扭转困难”,法院依照相关法律规定宣告其破产。

(图源:全国企业破产重整案件信息网)
管理人向鲁网·泰山财经记者透露,2018年后,烟台捷林达破产强清工作交由管理人负责,截至目前该企业资产拍卖处理已快收尾,仅剩天宏铸造股权还未完成。管理人表示:“如果此次流拍,将继续以降价不超20%的价格继续拍卖,直到交易完成。”
鲁网·泰山财经记者注意到,截至目前阿里拍卖平台与烟台捷林达相关信息共1371条目。2019年2月,烟台捷林达通用齿轮箱制造有限公司土地、房产(含附属设施)一宗破产资产以9497.59万起拍,经过161次竞拍后,成交价最终为1.27亿元,系目前烟台捷林达资产拍卖成交价最高的一则。
值得一提的是,企查查显示,该企业曾于2020年8月,因“章程规定的解散事由出现”,向烟台市福山区市场监督管理局申请注销登记。

(图源:企查查)