今日,网红朱宸慧(微博ID:雪梨Cherie)被曝出因涉嫌偷逃税款被罚6555.31万元,该消息引发热议。#雪梨和林珊珊偷逃税被处罚#登上微博热搜,截至目前共吸引4.1亿人阅读,2.3万人参与讨论。鲁网·泰山财经记者注意到,朱宸慧共关联16家企业,其中在13家企业担任法定代表人。林珊珊共关联11家企业,其中在8家企业里担任法定代表人。此外,朱宸慧、林珊珊均系杭州宸帆电子商务有限公司旗下签约网红,朱宸慧为该公司法定代表人、最终受益人。

两网红被罚9000余万元
据悉,浙江省杭州市税务部门通过税收大数据分析,发现朱宸慧(微博ID:雪梨Cherie)、林珊珊(微博ID:林珊珊_Sunny)两名网络主播涉嫌偷逃税款,在相关税务机关协作配合下,对其依法开展了全面深入税务稽查。
浙江省杭州市税务部门经查,朱宸慧、林珊珊在2019年至2020年期间,通过在上海、广西、江西等地设立个人独资企业,虚构业务将其取得的个人工资薪金和劳务报酬所得转变为个人独资企业的经营所得,偷逃个人所得税。两人的上述行为违反了相关税收法律法规,扰乱了税收征管秩序。
杭州市税务局稽查局依据相关法律法规,对朱宸慧追缴税款、加收滞纳金并拟处1倍罚款共计6555.31万元,对林珊珊追缴税款、加收滞纳金并拟处1倍罚款共计2767.25万元。日前,杭州市税务局稽查局已依法向朱宸慧、林珊珊下达税务行政处理决定书,并依法履行税务行政处罚告知程序。此外,税务部门发现李志强涉嫌策划、实施和帮助朱宸慧、林珊珊偷逃税,并干扰税务机关调查。目前,税务部门已依法对李志强进行立案检查,将依法另行处理。
朱宸慧个人独资企业超10家
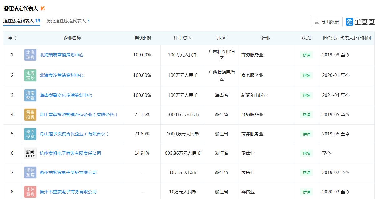
企查查显示,朱宸慧关联企业共16家,其中在13家企业担任法定代表人职务。目前存续状态的有杭州宸帆电子商务有限责任公司、杭州千屹企业管理有限公司、舟山雪梨投资管理合伙企业(有限合伙)等10家。
其中,宸帆电商关联公司杭州宸帆电子商务有限责任公司成立于2016年10月,法定代表人及疑似实际控制人均为朱宸慧,目前该公司已经历了3轮融资。此次同样因偷逃税被罚的林珊珊系杭州宸帆电子商务有限公司旗下签约网红。

朱宸慧名下的个人独资企业中,北海宸汐营销策划中心、北海瑞宸营销策划中心、海南梨馨文化传播策划中心3家处于存续状态;杭州雪梨电子商务有限责任公司、上海豆梓麻营销策划中心、上海皇桑营销策划中心、上海冰糖雪梨广告工作室4家处于注销状态。其中,上海豆梓麻营销策划中心、上海皇桑营销策划中心均成立于2019年8月13日,注销于2021年8月和9月。
另据天眼查风险信息显示,朱宸慧及其关联公司杭州宸帆电子商务有限责任公司因商业诋毁纠纷被起诉,原告为金佰利(中国)有限公司,案件将于12月15日在上海市杨浦区人民法院开庭。

鲁网·泰山财经记者注意到,今年10月底,就有网友爆料称,雪梨背后公司因税务问题被调查立案,目前还未出正式调查结果,双十一期间还能补交税款。对此,该团队相关负责人曾回应称“情况并不属实”。针对此次偷逃税问题,目前该团队暂未回应。
有网友称,“一些直播带货真的该管一下了!好多人上当受骗”“查处主播偷逃税,对直播业态是好事,警示网红主播们依法纳税”。鲁网·泰山财经记者吴奕萱
