山东福胶控股集团有限公司4家子公司3150万元股权被冻结,此前成被执行人、限制高消费
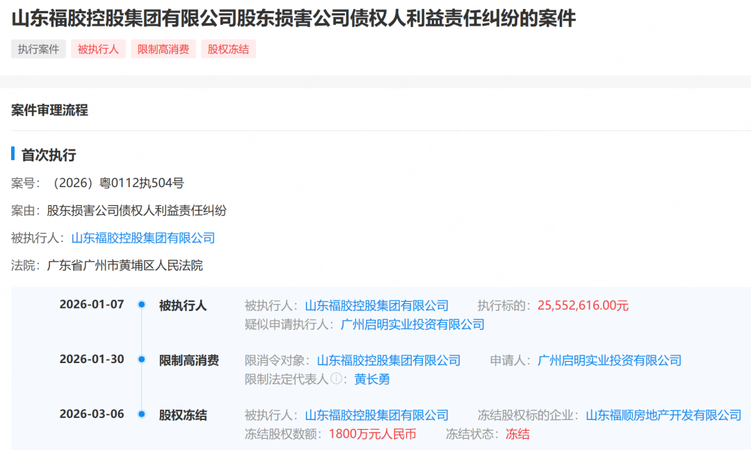
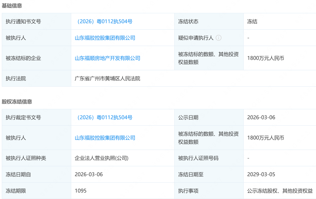
近日,山东福胶控股集团有限公司新增4项股权冻结,2026年3月6日,山东福胶控股集团有限公司持有山东福顺房地产开发有限公司1800万元股权,被广东省广州市黄埔区人民法院冻结。
2026年3月12日,山东福胶控股集团有限公司持有山东福养生物技术有限公司500万元股权,被广东省河源市紫金县人民法院冻结。
2026年3月12日,山东福胶控股集团有限公司持有山东福致新能健康科技有限公司350万元股权,被广东省河源市紫金县人民法院冻结。
2026年3月12日,山东福胶控股集团有限公司持有山东福胶战略策划有限公司500万元股权,被广东省河源市紫金县人民法院冻结。
4项股权冻结涉及总股权数3150万元,而执行裁定书文号均为(2026)粤0112执504号,经过查询可以看到,该案件为山东福胶控股集团有限公司股东损害公司债权人利益责任纠纷的案件,申请人为广州启明实业投资有限公司,执行标的约为2555万元。
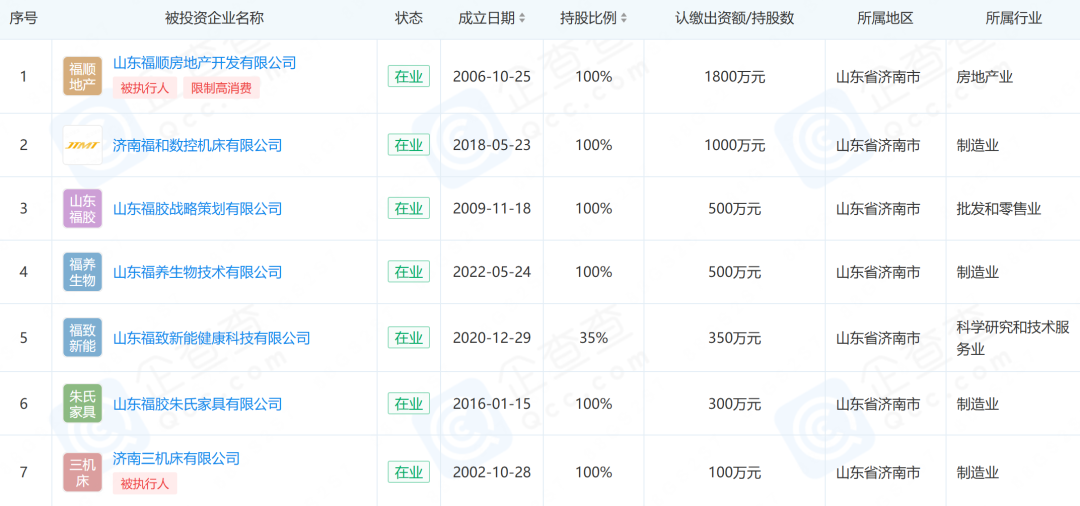
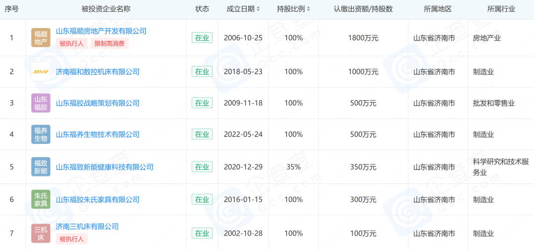
受此案件影响,2026年1月30日,山东福胶控股集团有限公司及法定代表人黄长勇被限制高消费。而山东福胶控股集团有限公司对外投资的的7家企业中有2家也处于被执行人状态。
2025年10月,其全资子公司山东福顺房地产开发有限公司,被山东省济南市平阴县人民法院列为被执行人,执行标的约394万元。
2026年1月,其全资子公司济南三机床有限公司,被山东省济南市平阴县人民法院列为被执行人,被执行总金额912.8万元。
山东福胶控股集团有限公司大股东为济南福铧企业管理合伙企业(有限合伙),持股比例45.687%,实际控制人为杨福安。
杨福安,1983年进入平阴阿胶厂,现任山东福胶集团有限公司党委书记、董事长,2023年起通过股权收购强化企业控制权,2025年主导成立澳门福集团有限公司,同年法定代表人变更为赵景祥,仍为企业实际控制人。
企业官网介绍:福牌阿胶,坐落于山东省济南市东阿镇,始建于1950年,其前身是山东平阴阿胶厂。

旗下拥有福牌阿胶、福胶、福、福牌御方、祖源地、东阿镇、狼溪河等主品牌,下设有山东福牌阿胶股份有限公司、山东福牌阿胶药业有限公司、山东福牌东阿镇阿胶公司、济南福和数控机床公司、山东福顺房地产开发公司、中国福集团有限公司、上海福舟健康科技有限公司、山东福致新能健康科技有限公司、元时代(济南)信息科技有限公司、山东平阴农村商业银行股份有限公司、平阴蓝海村镇银行股份有限公司等控股子公司和参股公司, 现已形成以阿胶产业为核心,涵盖医药制造、中药饮片和中药颗粒生产、中药材种植加工、康养器械研发制造、旅游、文化、养老健康协同发展的康养产业集群,构建起企业业务事业群、消费者业务事业群、自营业务事业群、创新业务事业群四大事业群+一大事业孵化平台。业务遍及山东、华东、华南、中南、中北、西南、华中、东北、西北九大区域34个省市自治区直辖市,以香港、澳门、台湾为基点辐射全球的国际市场。
来源:财经生活帮