华海保险约4.4亿元股权被冻结,1家分支机构被标记“严重违法”
近日,财经生活帮记者查询发现,华海财产保险股份有限公司新增一项“股权出质”事项,出质股权标的企业为华海财产保险股份有限公司,出质人为龙口嘉元东盛热电有限公司,质权人为恒丰银行股份有限公司龙口支行,出质股权数额为3000万股。
经过查询,龙口嘉元东盛热电有限公司为华海财产保险股份有限公司的股东,持股比例9.1667%。本次股权质押占其持股的27.2727%。
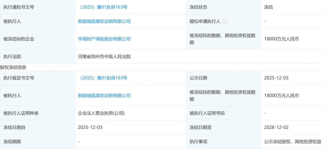
此前,华海财产保险股份有限公司第一大股东,那曲瑞昌煤炭运销有限公司已经出现了股权冻结和股权出质情况,2025年12月3日那曲瑞昌煤炭运销有限公司持有华海财产保险股份有限公司1.8亿股权被冻结。
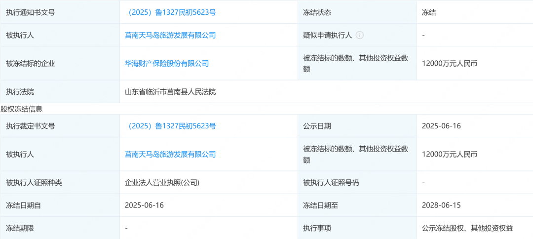
华海财产保险股份有限公司另一位股东莒南天马岛旅游发展有限公司,2026年1月9日被列为被执行人,执行标的410万元。2025年6月16日,莒南天马岛旅游发展有限公司,持有华海财产保险股份有限公司1.2亿元股权被冻结。
同时企查查信息显示,华海财产保险股份有限公司股东山东祥光集团有限公司,其持有华海财产保险股份有限公司的约1.4亿元股权同样被冻结。
经过粗略计算,目前华海财产保险股份有限公司已经有约4.4亿元股权被冻结。同时在其分支机构中华海财产保险股份有限公司枣庄市市中支公司,被标注为严重违法。原因是被列入经营异常名录届满3年仍未履行相关义务。
企业官网显示:华海财产保险股份有限公司于2014年3月21日获监管部门批准筹建,2014年12月9日正式开业。公司注册地位于山东烟台,注册资本12亿元。华海保险主要股东是沿海地区和海洋领域实力雄厚的实体企业,是一家全国性、综合性财产保险公司。华海保险现已开设山东、青岛、河南3家省级分公司,22家地市级中心支公司,56家县区级支公司。全资子公司华海沣泰保险代理公司于2017年3月30日获准经营,在全国14个省份设立了分支机构。华海保险业务范围为:机动车保险,包括机动车交通事故责任强制保险和机动车商业保险;企业/家庭财产保险及工程保险(特殊风险保险除外);责任保险;船舶/货运保险;短期健康/意外伤害保险;上述业务的再保险业务;国家法律、法规允许的保险资金运用业务;经中国银保监会批准的其他业务。
来源:财经生活帮